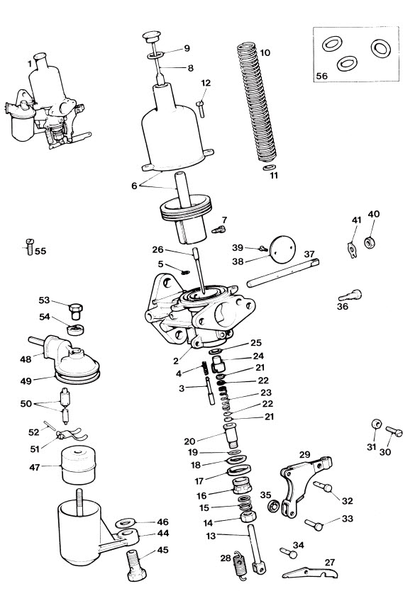
Carburetter H2 - 9M/U/H165938 to H353641

Please click any component for product information

Click to download catalogue page 224kb

Return to section index