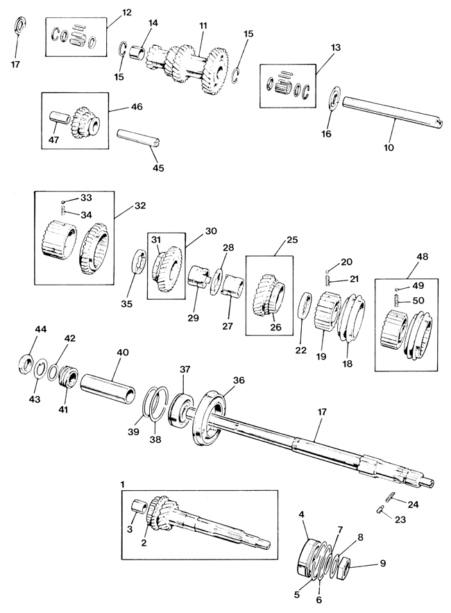
Gearbox - 803cc

Please click any component for product information

Click to download catalogue page 233kb

Return to section index