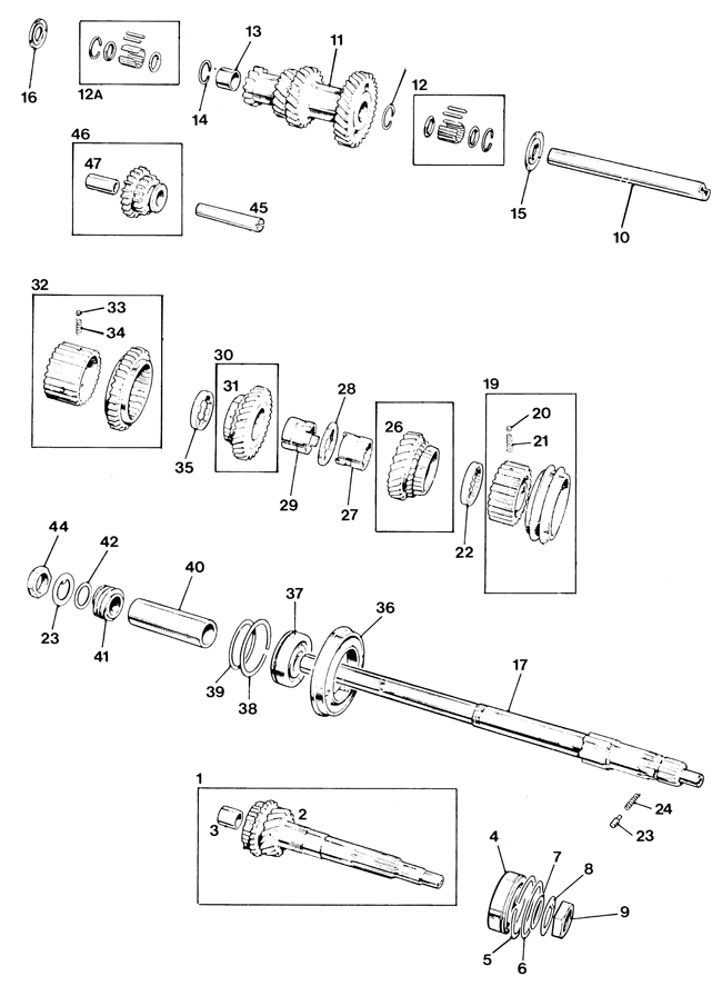
Gearbox - 948cc

Please click any component for product information

Click to download catalogue page 224kb

Return to section index