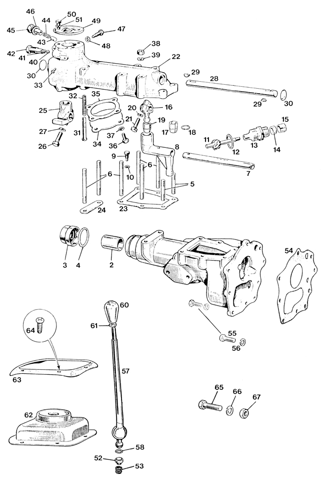
Gearbox - 948cc
Please click any component for product information
Click to download catalogue page 265kb
Return to section index